两极式调速器科普中国-科学百科 2018-04-26 作者:宋春霖 |
两极式调速器主要由发动机转速的感应部件、传动部件和附加装置等组成。两极式调速器只在最低转速和标定转速两种情况下起调速作用,以保证低速时工作稳定和防止飞车事故的发生。 两极式调速器与单程式调速器的主要不同点是:调速弹簧由两根(或两组)弹簧所组成,低速弹簧较长但刚性较弱,高速弹簧较短但刚性强,两弹簧都有一定的预紧力。1
简介
两极式调速器按调速器起作用的转速范围不同,又可分为两极式调速器和全程式调速器。
按调速器起作用的转速范围不同,又可分为两极式调速器和全程式调速器。中、小型汽车柴油机多数采用两极式调速器,以起到防止超速和稳定怠速的作用。在重型汽车上则多采用全程式调速器,这种调速器除具有两极式调速器的功能外,还能对柴油机工作转速范围内的任何转速起调节作用,使柴油机在各种转速下都能稳定运转。
两极式调速器只在柴油机的最高转速和怠速起自动调节作用,而在最高转速和怠速之间的其他任何转速,调速器不起调节作用。
调速器的作用及分类
在柴油机运行过程中,当负荷变化时,要通过及时调整循环供油量来改变其输出功率或转矩,以保证其稳定运转。汽车、拖拉机等常在负荷不断变化的情况下工作,且常会遇到负倚突变的情况。当负荷突然减小或增大时,驾驶人并不是都能够适时地察觉到而及时做出反应来控制油门的,从而导致柴油机转速的忽高忽低和工作不稳定。当喷油泵供油拉杆位置不变时,其每循环供油量随着转速的升高(降低)而增大(减少)的变化关系(喷油泵速度特性)却恰恰加剧了上述现象。尤其是当柴油机在高速下工作而突然卸载时,会导致转速急剧升高。这时喷油泵供油量却随着转速的升高而自动增大,又促使转速继续升高。转速和供油量的相互作用使转速甚至超出设计允许的最高转速而无法控制.即所谓的“飞车”或“超速”现象。对柴油机来说,一旦发生飞车现象,混合气形成时间更短,燃烧明显恶化,出现冒黑烟和过热现象,且由于产生很大的惯性力,机械负荷过大,易导致机件(曲轴连杆机构、配气机构的零件)损坏。相反,当外界载荷突然增大而又不能及时增大供油量时,转速则迅速下降,甚至熄火。
另外,车用柴油机还经常在怠速工况下运转.若因某种原因出现转速波动.则易造成怠速不稳,甚至熄火, 所以,柴油机必须能随着负荷的变化自动调节供油量,以使其稳定运转。凋速器即是实现这一功能的装置,
调速器的科I类很多,按工作原理分为机械离心式、气动式、液压式、机械气动复合式、机械液压复合式、电子式。机械式调速器结构简单,工作可靠,应用广泛。
按其调节转速的范围,车用柴油机上多采用两极式和全程式调速器。两极式调速器只限制柴油机最高和最低转速,防止飞车和稳定怠速。中间转速则由驾驶人直接通过操纵杆来控制,调速器不起作用。两极式调速器多用于中、小型汽车上。全程式调速器不仅能限制柴油机最高转速和稳定怠速,而且能对柴油机工作范围内的任何转速进行自动调节,多用于负荷、转速变化频繁的汽车和中、重型工程车及越野车上等。
两极式调速器基本结构
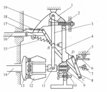
下图为广泛应用的两极式调速器的结构与工作原理示意图。

它通过螺钉固定在喷油泵体上。喷油泵凸轮轴的一端固接着飞块支座,两个飞块通过销轴与其连接。飞块臂上的滚轮紧靠在调速滑套的端面上。当飞块离心力增大向外张开时,滚轮便推动滑套移动。导动杆上、下端分别与调速器壳和滑套铰接,中部通过销轴与浮动杠杆铰接。浮动杠杆上部通过连接杆与供油调节齿杆相连,顶部挂接另一端接在调速器壳体上的起动弹簧上。
浮动杠杆下端有一销轴,插在支持杠杆下端的凹槽内。速度调定杆、拉力杠杆的上端与导动杆一起套在调速器壳上的销轴上。速度调节螺栓顶住速度调定杆,使装在拉力杆和速度调定杆之间的调速弹簧保持拉伸状态。拉力杠杆下端装有怠速弹簧,其中部有一根销轴插入支持杠杆上端的凹槽内。控制操纵杠杆的一端与支持杠杆连接,另一端由驾驶人通过加速踏板来控制。2
两极式调速器工作原理
1、起动工况与怠速工况
起动时,先将操纵杆推靠在高速限位螺钉上,带动支持杠杆和浮动杠杆分绕D点和B点逆时针转动,使供油调节齿杆移至全负荷供油位置。同时,在起动弹簧拉力的作用下,浮动杠杆绕C点逆时针方向摆动,带动口点和A点(或滑套)进一步移至极限位置,飞块被压至合拢,供油调节齿杆达到最大供油量位置,使起动油量大于全负荷油量,以加浓混合气,保证发动机顺利起动。
在发动机起动后,将操纵杆置于怠速位置,供油调节齿杆随之移至怠速供油量的位置,发动机进入怠速工作状态。当飞块离心力与怠速弹簧和起动弹簧弹力平衡时,发动机稳定于某一转速下。若某一原因使转速升高,则飞块离心力增大,使滑套右移压缩怠速弹簧,通过导动杆、浮动杠杆带动供油调节齿杆右移,减小供油量,使转速降低,直至达到新的平衡。
当转速降低时,调速机构的响应与上述过程相反,达到新的平衡。改变怠速弹簧的预紧力,可调整怠速转速。
2、中速工况与高速限制
当操纵杆处于高速限止螺钉和怠速螺钉中问位置,发动机
转速高于怠速控制范围时,怠速弹簧被压入拉力杆孔内,滑套直接与拉力杆接触。刚度较大的调速弹簧把拉力杆拉住:在转速低于最高工作转速时,飞块离心力产生的推力不足以克服其弹力而推动拉力杆,调速器不起作用。只有靠驾驶人改变操纵杆的位置,才能使供油调节齿杆移动,以增减供油量。
当负荷减小使发动机转速升高,并超过设定的最高转速时,飞块离心力产生的推力足以克服调速弹簧的预紧力,推动滑套使导动杆、拉力杆绕其顶端支承点逆时针转动,拉动供油调节齿杆向减小供油量的方向移动,限制转速的继续升高,防止产生飞车现象。
调整速度调节螺钉可改变调速弹簧的预紧力,并可调整发动机的最高限速。2
本词条内容贡献者为:
宋春霖 - 副教授 - 江南大学
责任编辑:科普云
科普中国APP
科普中国微信
科普中国微博

最新文章
-
为何太阳系所有行星都在同一平面上旋转?
新浪科技 2021-09-29
-
我国学者揭示早期宇宙星际间重元素起源之谜
中国科学报 2021-09-29
-
比“胖五”更能扛!我国新一代载人运载火箭要来了
科技日报 2021-09-29
-
5G演进已开始,6G研究正进行
光明日报 2021-09-28
-
“早期暗能量”或让宇宙年轻10亿岁
科技日报 2021-09-28
-
5G、大数据、人工智能,看看现代交通的创新元素
新华网 2021-09-28








