平行四边形定则科普中国-科学百科 2018-04-25 作者:胡启洲 |
平行四边形定则是数学科的一个定律。两个力合成时,以表示这两个力的线段为邻边作平行四边形,这个平行四边形的对角线就表示合力的大小和方向,这就叫做平行四边形定则(Parallelogram law)。
发展简史
1586年,荷兰的斯蒂文在《静力学基础》一书中最早提出力的分解与合成原理,并把这一原理(没有明确表达出)应用到两绳悬一重物、一绳在三处挂不同重物等场景中,解决了许多复杂问题。
1687年,牛顿在《自然哲学的数学原理》的“物体的运动”的推论1、2中分别写到:“一个物体,同时受到两个力的作用,就将沿平行四边形的对角线运动,所用的时间和它分开受到这两个力的作用而沿两边运动的时间相同”。牛顿凭借敏锐的直觉,推断出了运动和力的分解与合成所遵循的定则,但未作进一步的证明。
几乎与此同时,法国皮耶利·瓦里翁向巴黎科学院提交了由他独立得出的诸力合成的平行四边形定则的报告,但没有表述清楚。1725年,瓦里翁在《新力学或静力学》一书中用力的合成与分解原理解决了各种具体静力学问题,并初步提出了“力矩”概念,找出了力的平行四边形原理与力矩的关系。他还把力的平行四边形原理推广到运动学的速度中去,认为静力学只是动力学的特例。
1726年,约翰·伯努利在写给瓦里翁的信中提出力的平行四边形原理可以用于静力学。他用虚功原理分析在一个力学系统中力矩做功的问题,指出在任何力的平衡的情况下,无论这些力是直接地或是间接的用来支持相互平衡。丹尼尔·伯努利则在《力学原理的研究及力的分解与合成证明》一文中对瓦里翁提出两点质疑:①力与速度在运用合成与分解时不应成正比;②在各力的作用下物体的运动是不是具有独立性。
此后,法国的潘索也对平行四边形定则进行了数学证明并首先引入“刚体”、“力偶”等概念,进一步将静力学用于刚体及机器结构的分析上。直到十九世纪乃至二十世纪初,包括拉普拉斯、茹可夫斯基等众多力学家在内,都花了许多时间来对此进行争论。
如同惯性定律一样,这是一条永远无法用实验完美证明的定则。只是随着矢量及其所遵循的运算定则的确立,力、位移、速度等被纳入力的矢量体系,以及运动的独立性、力的独立作用原理和物体在摩擦力下运动的动力机制被揭示,人们才从逻辑上接受了这一定则。12
数学推导

F^2=CD^2+AC^2
=(F1Sinθ)^2+(F2+F1Cosθ)^2
=(F1Sinθ)^2+F2^2+2F1F2Cosθ+(F1Cosθ)^2
=F2^2+2F1F2Cosθ+F1^2
∴F=√F2^2+2F1F2Cosθ+F1^2
实验验证实验目的
验证互成角度的两个力合成时的平行四边形定则。
实验方法
一、等效法
两个分力共同作用于一个物体的同一点,使物体产生一定的形变或加速度。然后用一个力单独作用于两分力作用时的作用点上,调节该力的大小和方向,使受力物体产生与两分力共同作用时相同的形变或加速度。由于加速度的测量比较复杂,常采用分力与合力对受力物体的相同形变,实现两分力的共同作用与合力单独作用等效。这时,与两分力共同作用等效的一个力就代表两分力的合力。
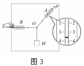
一般选橡皮筋为受力物体,将橡皮筋一端固定,用两个互成角度的力F1、F2同时拉橡皮筋的另一端,使其产生一定的伸长。然后用一个力F单独拉橡皮筋,使其产生与两拉力共同作用时相同的伸长,则F与两分力的合力相同。F就是测量出的合力。然后再运用平行四边形定则求出F1、F2的合力。比较F与F1、F2的合力,看两者大小是否相等、方向是否相同。
本实验的成败,关键是等效与误差的控制。实现等效,就是保证橡皮筋两次的伸长量相等,要求两次将橡皮筋的末端拉至同一位置。控制误差,要做到:
(1)尽量选相同的弹簧测力计。可将两测力计钩好对拉,选读数始终相同的一对;
(2)测力计与固定橡皮筋的板面平行,读数时,视线要与测力计刻度板正对;
(3)在不超过弹性限度的条件下,尽可能使拉力大一些;
(4)用力的图示法依据平行四边形定则画图求合力时,标度的选择应尽量使图画得大一些,画图要严格使用作图工具;
(5)在同一次实验中,橡皮筋拉长后的结点位置一定要相同。
二、平衡法
三个恒力同时作用于物体的同一点,当受力物体处于静止状态或匀速直线运动状态时,这三个力平衡,其中任意两个力的合力与第三个力大小相等,方向相反。若以任意两个力作为分力,则第三个力的大小代表前两个力的合力大小,第三个力的反方向代表合力的方向。
实验中,一般是将三个轻绳套一端结在一起,以结点作为受力物体。然后在其中的一个绳套挂上重物,用两个弹簧测力计在竖直平面内沿两个互成角度的方向分别拉另外两个绳套,当重物静止时,三力平衡。为方便实验及测量,通常使受力质点保持静止状态,实现三个力的平衡。
本实验关键是控制受力质点处于静止状态。减小误差的措施与“等效法”是相同。3
定律解释
标量之间的运算只有一个要求,那就是单位要一致, 但是,矢量相加就要用特别的方法,因为被加的量既有一定数值,又有一定的方向,相加时两者要同时考虑。在力学中经常遇到的矢量有位移、力、速度、加速度、动量、冲量、力矩、角速度和角动量等。
矢量的加法有两种:其一即所谓三角形法则;另一方法即平行四边形法则,它们本质是一样的。若用三角形法则求总位移似乎直观些,而用平行四边形法则求力的合成好像更便于理解。
应该指出的是:合力表示的作用效果与 各个分力的共同作用效果是一样的。因此可以用 代替“和”的共同作用,但绝不能把 当成作用在物体上的第三个力。在分析物体受力情况时,不能同时考虑合力与分力对物体的作用。有的人认为:“合力总比分力大”。我们可利用求合力的平行四边形法则,通过作图可看到,合力的大小是随两分力夹角而变化的,绝不能说“合力一定要比分力大”。4
一个矢量,只要遵守平行四边形法则,可以分解为两个,或无穷个。但是矢量的合成不同,两个矢量只能合成为一个矢量。
定律影响
平行四边形定则方法被引进到分析和解析几何中来,并逐步完善,成为了一套优良的数学工具。
本词条内容贡献者为:
胡启洲 - 副教授 - 南京理工大学
责任编辑:科普云
科普中国APP
科普中国微信
科普中国微博

最新文章
-
为何太阳系所有行星都在同一平面上旋转?
新浪科技 2021-09-29
-
我国学者揭示早期宇宙星际间重元素起源之谜
中国科学报 2021-09-29
-
比“胖五”更能扛!我国新一代载人运载火箭要来了
科技日报 2021-09-29
-
5G演进已开始,6G研究正进行
光明日报 2021-09-28
-
“早期暗能量”或让宇宙年轻10亿岁
科技日报 2021-09-28
-
5G、大数据、人工智能,看看现代交通的创新元素
新华网 2021-09-28








