龙门桩科普中国-科学百科 2018-02-19 |
龙门桩是指建筑物施工时,沿建筑物和构筑物四周竖立的木桩。用以钉设“龙门板”,作为控制建筑物和构筑物位置,正确进行“放线”的标志。1
建筑物的施工测量
建筑物均应进行单体施工测量,把图纸上设计的尺寸、位置测设到地面上。
测量前的准备工作
1.熟悉施工图纸。测量前首先熟悉各类图纸,如:总平面图、建筑物平面图、基础平面图、基础详图等。要仔细阅读图纸,把图纸读懂读熟。
2.备齐各种测量器具,使用前要进行校正。
3.现场踏勘,并且进行坐标点的引测。
4.准备好设置龙门桩的小木柱、小木板、麻线、白灰等。
建筑物的定位测量
建筑物的定位测量,就是把设计图中建筑物的外廓轴线,按其在总图中划定的位置测设到地面上,然后再根据外廓轴线测放出建筑物的细部。
如下图为某管理用房平面图,图中的①轴至⑥轴、④轴至⑩轴都是该建筑的外廓轴线,首先应定出①轴与④轴相交的M点,然后再用经纬仪和钢卷尺定出N点和P点、Q点。

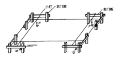
在建筑物定位以后,所测设的轴线交点桩,在开挖基槽时将被破坏,施工时为了方便恢复各轴线的位置,一般是把轴线延长到安全地点,并作好标记。延长轴线的方法有两种:一种是在建筑物的外侧钉龙门桩和龙门板,另一种是在轴线延长线上打木桩,称为轴线控制桩。龙门桩与龙门板的设置方法如下:在四角和中间隔墙的两端基槽之外约1.52m处(可根据槽深和土质而定)设置龙门桩。桩要钉得竖直、牢固,龙门板的外侧面应与基槽平行,如下图1,下图2所示。


然后,根据场地内的水准点,用水准仪将±0.00的高程测设在龙门桩上,用红铅笔划一横线(若地形条件不许可,可测设比±0.00高或低一整数的高程线)。根据该红线把龙门板钉在龙门桩上,使龙门板的上边缘高程正好为±0.00。并用水准仪校核龙门板的高程,如果发现有差错,应及时改正。
最后,将经纬仪安放在N点(上图1),瞄准P点沿视线方向在龙门板上定出一点,用小钉标志。倒转望远镜在N点附近的龙门板上钉一小钉。如果建筑物较小,也可用小
线绳拉直,用垂球对准角桩中心,然后把轴线延长标定在龙门板上。同法将各轴线都引测到龙门板上。
基础沟槽施工测量
在建筑物测量定位后,就可以开挖基础或沟槽了,此时必须进行沟槽开挖深度的测量,根据设计标高和测设的原地面标高及基础、垫层等的厚度计算沟槽的开挖深度当基槽挖到设计底面标高30~50cm时,可用水准仪在槽壁上隔2~3m打一水平桩也可以在基槽边的地面上做一个控制桩或龙门板,然后用钢尺或长木尺引测下去。但是深度较深时,一定要使用水准仪进行标高的引测。2
龙门桩、龙门板的设置要求
龙门桩和龙门板,在建筑工程施工中广泛采用,尤其砖混结构和单层工业厂房,由于基础的埋深较浅,使用龙门桩和龙门板还是比较方便的,在设置龙门桩和龙门板时,有一些具体要求应予以注意。
(1)龙门桩可以设置在建筑物四角以及纵横墙轴线的两端拟挖边线以外约1-1.5m(注意土质情况和基础挖掘的深度)处,并且不可妨碍施工,对其要求必须牢固、垂直,不能有随意摇摆、松动的现象,木桩的侧面应与实际的轴线相平行。龙门桩可以选用断面为50mm×50mm方木制成,为了便于向地下楔人,其中一个端部应做成锥状。
(2)为了更方便施工,可以在龙门桩的桩身上测标出±0.00标高线,但是有的时候可能由于现场某些条件的约束,限制了这一标高线的设定,在这种情况下可以测定比±0.00标高线或高、或低一定数值的标高线(如±100mm),并加以标识,使现场施工人员明白。
(3)在龙门桩上测定的标高线处设置并固定龙门板,龙门板应选用干燥、无疤节的红白松,使用木工刨子刨平,保证其平直、方正。龙门板的上表面就是所测定的标高线,龙门板的标高允许误差为±5mm。
(4)用经纬仪将轴线引到龙门板的顶面,在轴线通过的位置上钉上一个小钉,这个小钉工地上常称其为轴线钉,轴线钉的直径不宜太大,否则会使轴线产生较大的误差,龙门板上轴线投点的允许误差为±5mm。
(5)龙门桩和龙门板在使用的过程中,极有可能遭到碰撞,产生轴线或标高的偏差,因此,轴线应另行设置具有保险功能的控制桩,标高也不能只以龙门板上的标高作为施工标高控制惟一的标志。
虽然龙门桩和龙门板是建筑工地上经常使用的控制轴线和标高的方法,但是仍存在着某些不足,首先是需要使用大量优质木材,其次是龙门板、龙门桩要特别注意保护,稍有碰撞会使标高与轴线失去控制,目前很多建筑工地,采取轴线延长的方法,一般选择不妨碍施工的地点作为轴线延长点,挖一个深度约500mm、直径或边长约为300~400mm的小坑,浇满混凝土,同时在浇筑过程中,埋置一根长度为350mm左右、截面为不小于50mm×50mm的木桩,木桩顶面露出混凝土顶面约10mm,木桩顶面嵌钉轴线钉,也可以埋置一根长度为300~500mm较粗的钢筋,把上面的端部磨平,用钢锯锯成一个通贯直径的小口作为轴线标志。轴线桩在设立完成后采用砖砌体加以保护。至于标高,可以在附近的建筑物、构筑物或其他固定的物体上加以标识,一般说标识不应少于两点,并且应设置在两个不同的非常稳定的建筑物体上,以便从不同的两点控制或检验拟建建筑物的标高。3
本词条内容贡献者为:
胡建平 - 副教授 - 西北工业大学
责任编辑:科普云
科普中国APP
科普中国微信
科普中国微博

最新文章
-
为何太阳系所有行星都在同一平面上旋转?
新浪科技 2021-09-29
-
我国学者揭示早期宇宙星际间重元素起源之谜
中国科学报 2021-09-29
-
比“胖五”更能扛!我国新一代载人运载火箭要来了
科技日报 2021-09-29
-
5G演进已开始,6G研究正进行
光明日报 2021-09-28
-
“早期暗能量”或让宇宙年轻10亿岁
科技日报 2021-09-28
-
5G、大数据、人工智能,看看现代交通的创新元素
新华网 2021-09-28








