|
微软折叠设备新专利:相机组件一分为二 避免镜头凸出cnBeta.COM 2018-11-28 |
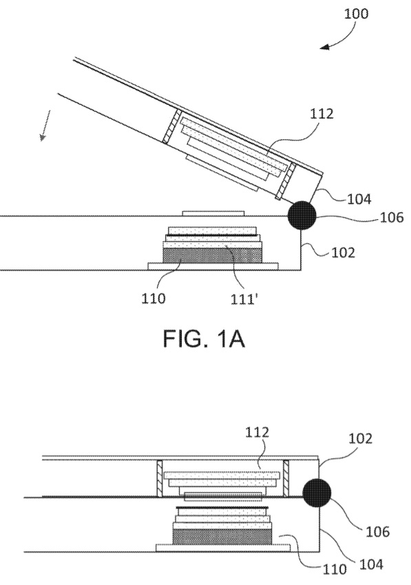
在相机成为衡量手机优劣的重要指标后,各家手机厂商绞尽脑汁地增强相机的性能,从华为P20系列的三摄到三星Galaxy A9的四摄,而且传闻中Nokia 9会启用五摄方案。但这些摄像头方案都不可避免的凸出,而微软内部正在研发的Andromeda可折叠设备有望避免这个问题。

根据美国商标和专利局最新公示的技术专利,微软于2016年就提交了一份名为“Self-aligning multi-part camera system”(自校准多部件相机系统)。专利中将传统相机组件分割成为至少两个的多个部分,在专利示例图中展示当设备的第一部分和第二部分重叠的时候,可以使用第二部分的光学元件提供额外的对焦选项,而相机的主要部分放置在第一部分中。专利描述中通过柔性电路以及相关组件来减少倾斜误差,从而能够正确重叠进行拍照。
责任编辑:杨茗
科普中国APP
科普中国微信
科普中国微博

最新文章
-
为何太阳系所有行星都在同一平面上旋转?
新浪科技 2021-09-29
-
我国学者揭示早期宇宙星际间重元素起源之谜
中国科学报 2021-09-29
-
比“胖五”更能扛!我国新一代载人运载火箭要来了
科技日报 2021-09-29
-
5G演进已开始,6G研究正进行
光明日报 2021-09-28
-
“早期暗能量”或让宇宙年轻10亿岁
科技日报 2021-09-28
-
5G、大数据、人工智能,看看现代交通的创新元素
新华网 2021-09-28








