|
苹果自动驾驶汽车有望先装备:夜间行车不怕远光灯了cnBeta.COM 2018-10-26 |
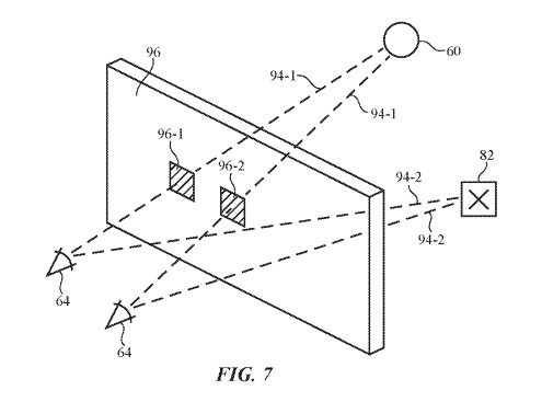
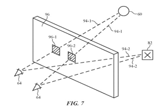
在夜间行车中最令驾驶员头疼的事情就是刺眼的远光灯,肉眼在遇到强光照射后无法辨清前方的障碍物,从而影响行车安全。虽然佩戴特制的眼镜可以有效降低这种风险,但并非所有驾驶员都喜欢佩戴眼镜驾驶。根据美国商标和专利局本周四公示的最新苹果专利,通过减少抵达驾驶员眼睛光线的方法来解决这个问题。

这项专利名称为“有源防眩光系统”,首先苹果会利用相机来确认驾驶员当前眼镜所在的位置,而车内的其他传感器会收集车内光线、外部光源(太阳、大灯和路灯)等光线信息。
这些光源的信息会综合传输至中控台进行处理和分析,在计算完成之后会向安装在挡风玻璃、后视镜的光线模块发出指令,调节表面的光线反射,以阻挡或者减弱强光对驾驶员的影响,帮助驾驶员更清晰地看到路面信息。
责任编辑:杨茗
科普中国APP
科普中国微信
科普中国微博

最新文章
-
为何太阳系所有行星都在同一平面上旋转?
新浪科技 2021-09-29
-
我国学者揭示早期宇宙星际间重元素起源之谜
中国科学报 2021-09-29
-
比“胖五”更能扛!我国新一代载人运载火箭要来了
科技日报 2021-09-29
-
5G演进已开始,6G研究正进行
光明日报 2021-09-28
-
“早期暗能量”或让宇宙年轻10亿岁
科技日报 2021-09-28
-
5G、大数据、人工智能,看看现代交通的创新元素
新华网 2021-09-28








