|
苹果手机屏幕钻孔专利曝光 可能在明年投入实用cnBeta.COM 2018-10-26 |
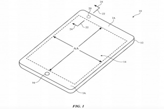
苹果在专利当中明确表示,该技术的目的是增加设备屏幕与机身之比,而无需移除任何必要的前置功能,如相机。与此同时,苹果强调钻孔的重要性,同时不会损坏屏幕的各个层。苹果公司可能没有像三星那样拥有自己的显示屏制造子公司,但专利显示,苹果公司正致力于在显示屏上钻孔而不影响其完整性,功能或外观。
可以使用钻孔和破碎操作来形成孔。钻孔工具可用于在第一基底层中钻出环形凹槽。可以在凹槽内形成变薄的环形区域。环形变薄区域可以破裂以释放第一基底层的盘形部分,从而形成孔。密封剂环可围绕孔以帮助在钻孔操作期间缓冲显示屏基板层。
与任何专利一样,目前尚不清楚Apple是否会转让技术让其供应商(包括三星)为相机和传感器创建带有孔的iPhone屏幕。考虑到苹果最近所有iPhone版本都采用了刘海设计,似乎表明在苹果公司愿意采用它之前,需要进一步完善钻孔屏幕背后的技术。但该专利确实证明了iPhone制造商没有完善智能手机的设计,并且目前的刘海可能只是暂时的妥协。值得注意的是,全球顶级苹果内部人士去年报道,苹果可能会在明年立即取消其iPhone设计当中的刘海。


责任编辑:杨茗
科普中国APP
科普中国微信
科普中国微博

最新文章
-
为何太阳系所有行星都在同一平面上旋转?
新浪科技 2021-09-29
-
我国学者揭示早期宇宙星际间重元素起源之谜
中国科学报 2021-09-29
-
比“胖五”更能扛!我国新一代载人运载火箭要来了
科技日报 2021-09-29
-
5G演进已开始,6G研究正进行
光明日报 2021-09-28
-
“早期暗能量”或让宇宙年轻10亿岁
科技日报 2021-09-28
-
5G、大数据、人工智能,看看现代交通的创新元素
新华网 2021-09-28








